William威廉官网·主頁欢迎您
设为首页
|
加入收藏
William威廉官网,William威廉官网
首页
学院概况
学院简介
组织架构
学院领导
师资队伍
教学管理
教学活动
专业设置
学科竞赛
William威廉官网
党务活动
团学活动
工会活动
教研科研
学生工作
招生就业
招生简章
就业指导
校友风采
实验室与基地建设
实验室
实验实训中心
通信与物联网工程省级实验教学示范中心
机电一体化省级实验教学中心
电气工程校级综合实践示范中心
智能制造实训中心
实践基地
工作室
专升本
评建专栏
相关栏目
招生简章
就业指导
校友风采
热点文章
首页
»
招生就业
»
正文
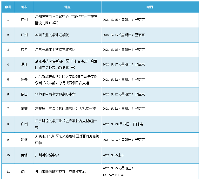
广州理工学院2024年普通本科线下招生咨询会安排表
发布时间:2024年06月24日
来源: 广州理工学院官网
字体大小:
小
中
大
版权所有 William威廉官网·主頁欢迎您
地址:十一号教学楼201 电话:020-39729794